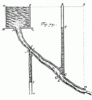
Daniel Bernoulli byl lékař a zabýval se měřením tlaku krve. Měřil ho tak, že přímo do tepny zavedl tenkou kapiláru. Metoda se používala téměř 200 let až do konce 19. století. Jedná se o přímou metodu měření krevního tlaku. Dnes se setkáme častěji s nepřímou metodou měření krevního tlaku.


Bernoulliho schéma měření tlaku krevního oběhu.
Zdroj: Sbírka Turner, Keele University, plus.maths.org. Public domain.

Srdce tlačí krev, aby protékala cévami po celém těle. Protože při každém dělení arterií součet průřezů větví je větší než průřez arterie nerozvětvené, klesá rychlost proudu. Kapiláry na konci krevního řečiště mají celkový průřez asi 500krát větší než příslušná arterie a krev se v nich také pohybuje tolikrát pomaleji. Tlak, kterým působí srdce na krev, se spotřebuje na překonání odporů, s jakými se krev setkává na své cestě, hlavně v kapilárách. Tím i klesá tlak měřený na různých místech krevního oběhu. Povolení a smrštění pružných artérií způsobuje jejich odpor vůči proudící krvi, které pociťujeme jako puls.

Krevní tlak vzniká jako rozdíl, o kolik je tlak krve větší než atmosférický tlak. Jestliže lékař měří tlak, pak zaškrtí ruku a přikládá k tepně fonendoskop. Proč? Laminární proudění člověk neslyší, proto je nutné v krevním řečišti vytvořit turbulentní proudění. Proto lékař zmáčkne tepnu, žádná krev tu neproudí a lékař nic neslyší. Po uvolnění vznikne v tepně malá mezírka a tím i turbulentní proudění. Lékař slyší šum, tzv. Korodkovovy zvuky. Po dalším uvolnění a zvětšení mezírky se turbulentní proudění změní na laminární a lékař neslyší zase nic. Na rtuťovém tonometru pak odečítá jednotlivé tlaky. První údaj je tzv. systolický tlak – horní tlak při stahu srdce, druhý údaj je tzv. diastolický tlak – dolní tlak v klidu. Normální tlak má hodnotu systolického tlaku mezi 90 – 140 a diastolického mezi 70 až 90 mm rtuťového sloupce, což je asi 18,6/10,6 Pa.


Měření krevního tlaku.
Zdroj: www.freedigitalphotos.net. Free Picture.

Kromě tlaku, který způsobuje srdce, působí na stěny cév hydrostatický tlak. Ten je nejmenší v hlavě a největší v nohách. Působí na stěny cév a snaží se je roztáhnout – nejvíce se mohou roztahovat cévy na povrchu nohou. Jestliže je stěna cévy zeslabená, dochází k jejímu vydutí, popř. prasknutí. Toto onemocnění se nazývá křečové žíly. Takto postižení lidé nedokážou dlouho stát, musí si sednout nebo lehnout (zmenšit hydrostatický tlak) a nosí stahovací punčochy (kompenzují hydrostatický tlak).

Podle rovnice kontinuity pokud se průměr cévy zmenší dvakrát, tak rychlost proudění krve se zvýší čtyřikrát. Pokud rychlost překročí určitou mez, tak se laminární proudění změní na turbulentní. Turbulentní proudění blízko srdce způsobuje šelest. Snížení tlaku krve v místě zúžení způsobuje zborcení stěny cévy.

Autor textu

Autor textu: 

Související vědci

Rezervace a nákup vstupenek

Recepce

Poradíme Vám s objednáním a nákupem vstupenek.